

■概述
可控放電避雷針是雷立行公司以激發小電流上行先導放電或上行雷閃的形式釋放雷云電荷,避免強烈的下行雷閃放電危害為目的研制的產品,該產品非常適合高壓輸電線路的防雷,是一種有廣泛應用前景的直擊雷防護裝置。
■保護原理
當可控放電避雷針安裝處附近的地面電場強度較低時,雷云不會對避雷針保護區范圍內的地面內的地面物體發生放電,此時可控放電避雷針針頭(由主放電針、可控放電均壓環、可控儲能裝置組成)的可控儲能裝置處于儲存雷云電場能量工況,可控放電均壓環和主放電針處于同等電位且為浮動狀態,與周圍大氣電位差小,針尖頭部的電場強度降低,因此幾乎不發生電暈放電,即保證了空間電荷很少的要求。
當雷云上升到預定的值時,那時有可能發生對周圍被保護物的雷閃,可控儲能裝置立即轉入釋能工況,這一轉變使主放電針針尖的電位突然升高,使針尖附近空間電場瞬間上升數十甚至數百倍,導致空氣迅速擊穿,形成很強的放電脈沖,因沒有空間電荷的阻礙,該放電脈沖在雷云電場作用下快速向上發展成上行先導,去攔截雷云底部先導或進入雷云電荷中心。
上行先導有兩個優點:第一個優點是上行雷閃不僅雷擊電流幅值小陡度低,而且由于地面上的雷擊點早已確定,自雷云向下發展的放電就不會擊到被保護的對象上;第二個優點是上行先導對地面物體具有屏蔽作用,可減輕放電時在地面物體上的靜電感應過電壓。
■電氣參數
1、可控放電避雷針保護角65°,相應地面保護半徑為2.14h,離地面高度hx處水平面保護半徑為2.14(h-hx)。
2、接地要求:接地電阻≤10Ω(一般地區);接地電阻≤30Ω(在高阻區及無人區)。
3、抗風能力不低于風速50m/s。
■產品特點
● 主放電電流小,放電陡度低;
● 設計原理新穎,結構先進、性能可靠;
● 安裝方便,使用期內免維護;
■適用范圍
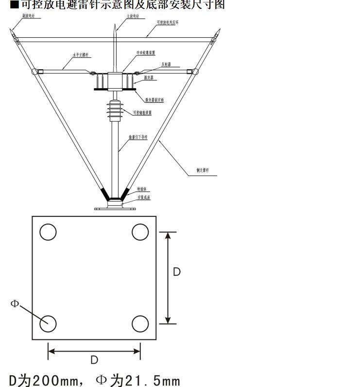
型號 | 規格 | 適用范圍 | 使用期(年) | 底部尺寸(mm) |
LKX-L/KFZ | 3針、1120 | 10kV及以上變電站、發電廠、微波站(塔)、證券、氣象、電視塔、油庫、鐵路等。 | 25 | 200 |
±800kV或者±500kV直流輸電線路 | ||||
110kV及以上交流輸電線路 |
說明:1、安裝應牢固可靠;
2、接地電阻應符合相關標準要求;
3、每年檢查一次連接是否可靠。
■安裝說明
● 可控放電避雷針的安裝高度應考慮向被保護物提供足夠的保護范圍,保護半徑多針情況依照數學模型作圖法計算。
● 可控放電避雷針針頭要求可控放電均壓環水平,主放電針在鉛垂方向。不允許在避雷針及其支柱上懸掛電話線、廣播線、電視天線及電力架空線等。
● 可控放電避雷針應設兩根專用的接地引下線,對于有可以直接利用的金屬作為引下線的可以不另設接地引下線。引下線一般采用圓鋼或者扁鋼,圓鋼直接不小于10mm,扁鋼不小于4×25mm。
● 宜安裝我公司配套直擊雷計數器,觀測可控放電避雷針運行情況。
● 引下線沿建筑物外墻敷設,與附近的金屬物應保持足夠的距離,引下線應經最短路徑接地,彎曲處不應出現直角或銳角(可做成鈍角或圓弧)。

掃一掃咨詢微信客服